Nintendo has recently filed a patent for a new handheld device with the United States Patent and Trademark Office.
Twitter user ZhugeEX spotted the patent, which is for a “handheld information processing apparatus” and features a single screen display and a touch-based interface. Other features of the device include two built in speakers on its underside, a vibration system and an accelerometer that measures movement.
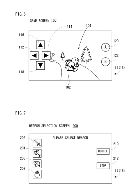
There are several images included in the patent filing that show a few variations on the handheld concept. One shows buttons on the touchscreen interface that control in game actions. Another features a more traditional layout complete with the standard ABXY button layout as well as a circle pad and d-pad. The designs suggest a more versatile and advanced handheld than we have previously seen from Nintendo.


This patent is the latest fuel to be added to the NX rumor fire. Nintendo President Tatsumi Kimishima has previously stated that NX will offer “a new way to play” and won’t necessarily replace Wii U.
Previous rumors have suggested a switch back to cartridges, a stellar launch lineup including various Wii U ports, a digital-only console, an advanced chip set of unprecedented power and compatibility with other devices such as smartphones, tablets and competing consoles.
This patent lends credence to the longstanding rumor that the NX will be a hybrid console that features a home system as well as a handheld component. This rumor was started when Nintendo combined its handheld and home console development teams in February 2013.
After taking E3 to focus on The Legend of Zelda: Breath of the Wild, the NX reveal is the next big piece of news on the horizon for Nintendo. Look for a Nintendo Direct or live event in the coming months for a full reveal of the anticipated new platform. The platform is slated for release in March 2017.
My Opinion
I don’t care what market analysts and sales say; there will always be room in my heart and on my bedside table for a dedicated gaming handheld. Some of my absolute favorite gaming memories have come from Nintendo while on the go. While recent console offerings have been questionable, Nintendo just gets handheld gaming. I would love to see them combine this expertise with their console innovation with NX. I need my sprawling Pokemon MMO odyssey, damnit!
___________________________________________________________________________
Brett Williams is an associate writer for MONG who has many opinions on the correct direction for Nintendo and the NX. If you are not interested in his rantings and ravings, follow him on Twitter.